Jump to content

Recommended Posts

Posted (edited)

0_907bc_33285c9f_L.jpg

Добрый вечер или ночи или ...

В общем родилась в воспаленном мозгу идея - построить сеть, главная задача которую преследую - это возможность дальнейшего масштабирования с помощью замены антенн, модулей и т.д., и установка их на новых участках сети, при этом хотелось бы также иметь хорошую пропускную способность для внутренних сервисов сети.

Схема :

1 - точка предоставления Интернета

2 - точка маршрута Интернета + 1 абонент по витой паре

3 - точка маршрута Интернета + магистраль на точку подключения группы абонентов С (далее возможно следующее ответвление на другие точки маршрута)

4 - точка маршрута Интернета + магистраль на точку подключения группы абонентов А и B (далее возможно следующее ответвление на другие точки маршрута)

ABC - группы абонентов подключаемые как по радиоканалу так и по UTP - по 10-15 абонентов на группу

По реализации думал о необходимости соединения точек маршрута на частоте 5ГГц, чтобы избежать помех, да и расстояния для этих частот вроде подходящие, подключение пользователей на 2ГГц (интересно также есть ли решения для зонного покрытия расстояний т.к. все точки маршрута являются высотными домами, а доставлять необходимо также частному сектору, внизу)

В дальнейшем пролеты между 1,2,3,4 будут заменены на оптику (2-3) месяца.

 

п.с. Mikrotik или Ubiquiti предпочтений нет, может где-то лучше применять их вместе, может быть для стабильности связи необходимо придерживаться строго линейки одного производителя, выслушаю любые замечания и предпочтения.

 

п.с2. Примерный бюджет нарисованного работоспособного :)

 

п.с3. Понимаю, что сейчас это выглядит как сочинение ленина, по ходу обсуждения буду конечно же корректироваться и вносить ясность.

 

Заранее спасибо

Edited by eldic
Posted

Если вы хотите получить максимальную скорость и стабильность (или что-то одно по выбору) на частоте 2ггц то следует делать так:

 

Клиентские устройства собирать самостоятельно из комплектующих и делать все на микротике, для клиентского устройства вам понадобится:

 

1.MIMO клиентское устройство для расстояний до 2-х километров. Примерная стоимость 2500р.

 

Mikrotik RouterBoard 711-2HnD - роутерборд со встроенной MIMO радиокартой. Основная часть устройства. Устанавливается внутрь антеннабокса.

RF Elements StationBox Mikro 2,4GHz 9 dBi Mimo - антеннабокс с MIMO антенной 9дби. Внутрь него устанавливается плата RB711-2HnD и подключается пигтейлами к антенне.

Пигтейл MMCX_RA/MMCX_RA 140mm - пигтейл для подключения платы к антенне, нужно 2 штуки.

Блок питания (POE) 24v 750 mA - блок питания, который позволит по витой паре передавать питание устройства по одному кабелю с данными.

 

Получается аналог UBNT NanoStation LOCO M2, но с БОЛЕЕ лучшими характеристиками. Максимальная скорость в полосе 20мгц - 98мбит в одну сторону, или в 40мгц - 98мбит дуплексного трафика.

 

2.Клиентское устройство для расстояний от 2-х до 5 километров. Примерная стоимость 2500р.

 

Mikrotik RouterBoard 711-2Hn - роутерборд со встроенной радиокартой. Основная часть устройства. Устанавливается внутрь антеннабокса.

RF Elements StationBox 2,4 GHz 14dBi antenna - антеннабокс с антенной 14дби. Внутрь него устанавливается плата RB711-2Hn и подключается пигтейлами к антенне.

Пигтейл MMCX_RA/MMCX_RA 140mm - пигтейл для подключения платы к антенне.

Блок питания (POE) 24v 750 mA - блок питания, который позволит по витой паре передавать питание устройства по одному кабелю с данными.

 

Получается аналог UBNT NanoStation 2, но с БОЛЕЕ лучшими характеристиками. Максимальная скорость в полосе 20мгц - 45мбит в одну сторону, или в 40мгц - 90мбит в одну сторону или 45мбит дуплексного трафика.

 

3.Клиентское устройство для расстояний более 5 километров. Примерная стоимость 4000р.

 

Mikrotik Groove 2Hn - готовое клиентское устройство, подключается прямо к разъему антенны.

Uni Grid 24dBi 2,4GHz - направленная параболическая антенна 24дб.

 

Микротик Groove аналог UBNT Bullet M2, но с БОЛЕЕ лучшими характеристиками. Максимальная скорость в полосе 20мгц - 45мбит в одну сторону, или в 40мгц - 90мбит в одну сторону или 45мбит дуплексного трафика.

 

Это все клиентские устройства.

 

Базы делать на базе такого оборудования для MIMO:

Mikrotik RouterBoard 711UA-2HnD - роутербоард со встроенной радиокартой и возможностью работы в режиме БС.

RF ELEMENTS StationBox S - корпус для установки роутерборда.

RF Elements MiMo Sector Antenna 2-90 или RF Elements MiMo Sector Antenna 2-120 - секторные MIMO антенны, первая с углом работы 90 градусов, вторая 120.

 

 

Это будет аналогом UBNT Rocket M2 с их же секторными антеннами. Примерная стоимость базы с антенной 6500р. Подключать можно клиентов и в MIMO и без, но в этом случае будет падать общая скорость работы сектора.

 

Или такого, если MIMO не нужно:

Mikrotik Groove A-2Hn - готовое устройство от микротика, накручивается прямо на антенну и может работать как БС.

MAXIMUS-D 2400-16-120 - самая ЛУЧШАЯ и ДЕШЕВАЯ антенна для создания базовых станций на частоте 2ггц, 120 градусов.

 

Тут стоимость порядка 5000р. Подключать можно обычных клиентов на StationBox 14 и Groove + решетка.

 

Теперь что из этого и где размещать:

 

Канал 1-2 делаете на 2-х клиентских устройствах (1).

Канал 2-3 делаете так же на 2-х клиентских устройствах (1).

 

В дальнейшем эти устройства сможете использовать для подключения клиентов, когда протяните там оптику.

 

На доме A ставите 4 базы с антеннами 90 градусов.

На доме B ставите 3 базы с антеннами 90 или 120 градусов, в зависимости от того, какие направления нужно покрыть.

На доме C ставите так же 3 базы с антеннами 90 или 120 градусов.

 

Базы !!! вешаете не на мачту на крыше лифтовой шахты, а размещаете на стенах так, что бы стены загораживали соседние базы друг от друга.

 

Получаются ваши затраты на базы:

 

A - 4х6500=26000р.

B - 3x6500=19500р.

С - 3х6500=19500р.

 

Затраты на каналы 1-2 - 10000р.

 

Общие затраты - 75000р.

 

Клиентов если в MIMO, подключать на расстояния не более 2км при этом выдерживать прямую видимость между антеннами, что бы ее не перегораживали деревья и прочие преграды. На каждую базу можно повесить порядка 20-30 клиентов, естественно большие скорости им давать не следует и все разом в интернет лезть они не должны.

 

Все базы надо сегментировать по вланам и включить изоляцию трафика, что бы клиенты напрямую не общались друг с другом. Клиентские устройства настраивать в режиме роутера, что бы оградить внутреннюю сеть от прямого контакта с компьютерами, которые могут слать вирусы и прочий мусор в сеть.

 

Если вам в дальнейшем надо поставить еще баз, просто тяните к ним канал, покупаете оборудование и вешаете. Но нужно помнить что wi-fi сети нельзя бесконечно масштабировать, потому что соседние базы будут мешать друг другу и работа сети будет нарушена. Чем больше баз и чем больше клиентов - тем хуже и медленнее все работает. Поэтому мощность работы баз и клиентов не следует устанавливать выше 16-18дбм и очень тщательно относиться к юстировки клиентских антенн, крепить их так, что бы ветер и другие факторы не могли сбить направление антенны.

 

Как вариант можете рассмотреть строительство беспроводной сети на частотах 5ггц. там спектр доступных частот больше и можно повесить большее количество баз. Так же там уже есть готовые клиентские устройства от микротика - RB/SXT и RB/SEXTANT, на первые можно подключать на расстояние до 2-3-4км, на вторые до 6км. Скорости так же 98мбит в полосе 20мгц и 98мбит дуплекса в 40мгц.

 

Базы между собой так же можно соединять мостами на частоте 5ггц, тем самым избежать помех от других беспроводных сетей/устройств.

 

Если хотите гарантировать качество услуги и предоставлять интернет легально, можно поставить оборудование фиксированного ваймакса на частоте 5ггц, но там цена за базу порядка 60-70 тыс.р. клиентские устройства около 10тыс.р. Тут в плюсах надежность, стабильность, возможность приоритезации данных в радиоканале (чего нельзя сделать на устройствах wi-fi).

 

На оборудование фирмы UBNT даже не смотрите (сейчас придут советчики и будут советовать использовать его) - у него нет никаких преимуществ перед микротиком, так же нет никаких возможностей точной подстройки/настройки, меньше возможностей, и вообще это оборудование является ширпотребом для домашнего использования (типа интернет себе на дачу прокинуть), крупные сети на нем в данный момент уже не строят (раньше строили, потому что у микротика не было возможности за низкую цену собрать клиентское устройство).

 

Сеть строить надо на линейке одного производителя, самое дешевое и качественное - Mikrotik. У него есть поллинговый протокол NV2, который более стабильный и быстрый, чем AirMAX от UBNT. Микротик поддерживает гибкое управление сетью, предоставляет расширенную статистику клиентов на базе, может работать маршрутизатором и авторизовывать клиентов. Поддерживает различные типы туннельных протоколов PPPoE, VPN, L2TP.

 

Схем и вариантов построения вашей сети может быть несколько. Возможно сперва не покупать полное количество баз, а поставить на каждый дом по одному устройству Groove A-2Hn с круговой антенной, подключать клиентов на него, а в дальнейшем при росте количества клиентов уже покупать базы и устанавливать их - так можно экономить деньги на начальном этапе строительства.

 

Так же следует почитать вот эту тему - http://forum.nag.ru/...showtopic=73541 - для понимания принципов работы беспроводных сетей.

Тут написано про микротик - http://forum.nag.ru/...showtopic=67577

Тут процесс сборки клиентского устройства - http://forum.nag.ru/...ndpost&p=703298 - только переделывать антенну не нужно.

 

Настройки микротиков пугаться не надо, это только на первый взгляд сложно, хотя с непривычки можно подумать что там черт ногу сломит, но если постепенно изучать документацию, смотреть примеры и делать аналогичные настройки на практике - можно за несколько месяцев хорошо все изучить.

Posted

п.с2. Примерный бюджет нарисованного работоспособного :)

 

это наверно один из важных вопросов, на какую сумму вы сами рассчитывайте

отсюда зависит и то какое оборудование вы будете закупать и по скольку будете

брать с клиентов

 

 

потому то что вы собрали можно сделать и на dlink dap 1150 RU (только не с NB1)

c yagi антеннами по крайней мере на пробу

 

DAP 1150 (или его аналог) должен поддерживать режим моста и режим точки доступа

стоит он в пределах 1500 руб (внутреннее исполнение) так что распред коробка c IP 55 защитой

+ пару часов и тестовая сеть на пробу готова

 

антенны можно сделать спиральные из канализационной трубы и провода

в сети много подобных рецептов

 

В качестве предупреждения отмечу

Если я правильно понял

трафик идет от

 

3 на 4 и на C

c 4 на A и на B

так вот не удивляйтесь что скорость в канала

4 - А

и 4 - B будет в 2 раза меньше чем в канале 3 - 4

 

хотя я мог не правильно понять ваш рисунок

Posted

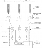
Примерая схема подключений базовых станций к магистральной. В центре может использоваться OmniTIK или RB/SEXTANT или RB/SXT для раздачи интернета (на последние 2 надо будет купить лицензию Level 4 стоимостью 950р для возможности работы в режиме базовой станции, т.к. они изначально имеют Level 3, которая не поддерживает режим AP). На удаленных домах принимать на SEXTANT и подключать его в коммутатор, от него разводить кабель до базовых станций 2ггц, установленных на стенах. Либо подключать напрямую к базовой станции, если она всего одна на этой крыше. Как вариант (в верхнем правом углу на картинке) подключение на алюминиевый бокс со встроенной антенной 5ггц. В этом случае к БС подводится только электропитание:

 

shema_seti.png

 

Вот так осуществляется подключение базовых станций между собой в распределительном ящике:

 

shema_seti2.png

 

Только вместо оптики витая пара уходит на приемное устройство.

 

Вот так подключаются клиенты в домах с помощью уличного клиентского устройства - CPE:

 

shema_seti3.png

 

Вот так примерно выглядит готовая база со встроенным магистральным каналом и секторной антенной 2ггц 120 градусов:

 

ExtraLink_120_antennabox5Ghz.JPG

 

Так то же самое, только с использованием внешней антенны 5ггц:

 

ExtraLink2.JPG

 

На фото видно что для крепления корпуса с микротиком и антенны 5ггц используется специальная проставка-трубостойка, т.к. диаметр хомутов для крепления не позволяет напрямую повесить оборудование на имеющуюся опору на крыше.

 

А это внутренности корпуса с микротиком, внутри все оклеено теплоизоляционным материалом, что бы в сильные холода устройство не замерзало:

 

RB433.JPG

Posted

0_8e94b_51b0bda3_L.jpg

Изменения в ген. плане :)

Интернет по Ethernet(UTP) подается на точку 3. Пролёт 3-4 не предусматривает на данный момент возможности подключения пользователей кроме как по wi-fi, получается точка-точка. В прямой видимости от 4 находятся А и В, с которых уже доставляется конечным пользователям интернет.(точки 3 и 4 как магистральные для прямой видимости).

 

По оборудованию вижу так:

Вариант 1.

Пролеты 3-4-A или 3-4-B

на 5ГГц

Mikrotik SEXTANT 5HnD - 1шт. на 3

Mikrotik SEXTANT 5HnD - 2шт. на 4 (необходим доп.коммутатор для разноса)

Mikrotik SEXTANT 5HnD - 1шт. на А

Mikrotik SEXTANT 5HnD - 1шт. на В

(20т.р.) "магистраль"

БС на А и В:

2 ГГц

Mikrotik RouterBOARD 433L - 1шт.

Mikrotik R52n-M - 2шт.

MAXIMUS-D 2400-16-120 - 2шт.

(10т.р. 240гр.)

 

Клиентские(остаются одни и теже для всех вариантов думаю):

1.MIMO клиентское устройство для расстояний до 2-х километров. Примерная стоимость 2500р.

Mikrotik RouterBoard 711-2HnD - 1шт.

RF Elements StationBox Mikro 2,4GHz 9 dBi Mimo - 1шт.

Пигтейл MMCX_RA/MMCX_RA 140mm - 2шт.

Блок питания (POE) 24v 750 mA - 1шт.

 

2.Клиентское устройство для расстояний от 2-х до 5 километров. Примерная стоимость 2500р.

Mikrotik RouterBoard 711-2Hn - 1шт.

RF Elements StationBox 2,4 GHz 14dBi antenna - 1шт.

Пигтейл MMCX_RA/MMCX_RA 140mm - 1шт.

Блок питания (POE) 24v 750 mA - 1шт.

 

3.Клиентское устройство для расстояний более 5 километров. Примерная стоимость 4000р.

Mikrotik Groove 2Hn - 1шт.

Uni Grid 24dBi 2,4GHz - 1шт.

 

Вариант 2.

на 5ГГц

Пролет 3-4

На 3,А,В

Mikrotik RouterBOARD 433L - 1шт.

Mikrotik R52Hn - 1шт.

ExtraLink Antena BOX5 23 dBi

MAXIMUS-D 2400-16-120 - 2шт.(Для А и В)

Mikrotik R52n-M - 2шт.- 2шт.(Для А и В)

 

На 4

Mikrotik RouterBOARD 433L - 1шт.

Mikrotik R52Hn - 3шт.(Прием с 3, А и В)

ExtraLink Antena BOX5 23 dBi - 1шт.

 

По оборудованию запутался напрочь. Не хочется в дальнейшем проблем вроде и с грозой иметь, но при этом и мороз не покидает широты, да и хотелось бы все же иметь возможность менять блоками, а не полностью устройствами. Либо пожертвовать этим и взять готовое устройство. Параметров масса.

 

433-и кругом из-за необходимости в доп. портах Ethernet и возможность дальнейшего применения.

Да, 5ГГц между базами магистрали, лицензировать не буду пока что т.к. ведется оптика и это временное решение на данном участке.

 

Привязка к 5ГГц на магистрали только для исключения помех со стороны другого оборудования и надежности.

Posted

Если на базах антенны MAXIMUS-D 2400-16-120 тогда клиентские устройства с MIMO не нужны и этот вариант нужно исключить.

 

Количество SEXTANT вы посчитали не правильно, нужно 6 устройств.

 

1шт на 3

3шт на 4

1шт на A

1шт на B

 

В дальнейшем это оборудование сможете использовать для аналогичных пробросах интернета между домами, мощность на устройствах будет очень низкая и засечь их с земли практически невозможно.

 

Базы можно использовать в виде MAXIMUS-D 2400-16-120 + Groove A-2Hn. Тут не надо городить никаких корпусов, никаких плат, блок питания уже в комплекте идет. Цена решения из 2-х секторов будет даже дешевле 10 тыс.

 

И клиентские устройства тогда:

 

2.Клиентское устройство для расстояний от 2-х до 5 километров. Примерная стоимость 2500р.

Mikrotik RouterBoard 711-2Hn - 1шт.

RF Elements StationBox 2,4 GHz 14dBi antenna - 1шт.

Пигтейл MMCX_RA/MMCX_RA 140mm - 1шт.

Блок питания (POE) 24v 750 mA - 1шт.

 

Этого хватит для обеспечения интернетом на расстоянии до 4-5км прямой видимости.

 

От секстанта протяните кабель в коммутатор и от него на базы, а так же если надо, заберете канал для пользователей в доме.

 

Стоимость RB433L + R52n-M = стоимости 2-х Groove A-2Hn.

Posted

Магистрали:

Sextant-5HnD - 6шт.

Базовые станции:

Mikrotik Groove A-2Hn - 2шт.

MAXIMUS-D 2400-16-120 - 2шт.

Клиенты:

1.Клиентское устройство для расстояний от 2-х до 5 километров.

Mikrotik RouterBoard 711-2Hn

RF Elements StationBox 2,4 GHz 14dBi antenna

Пигтейл MMCX_RA/MMCX_RA 140mm

Блок питания (POE) 24v 750 mA

2.Клиентское устройство для расстояний более 5 километров.

Mikrotik Groove 2Hn

Uni Grid 24dBi 2,4GHz

Join the conversation

You can post now and register later. If you have an account, sign in now to post with your account.

Guest
Reply to this topic...

×   Pasted as rich text.   Paste as plain text instead

  Only 75 emoji are allowed.

×   Your link has been automatically embedded.   Display as a link instead

×   Your previous content has been restored.   Clear editor

×   You cannot paste images directly. Upload or insert images from URL.

×
×
  • Create New...
На сайте используются файлы cookie и сервисы аналитики для корректной работы форума и улучшения качества обслуживания. Продолжая использовать сайт, вы соглашаетесь с использованием файлов cookie и с Политикой конфиденциальности.