Jump to content

Recommended Posts

Posted

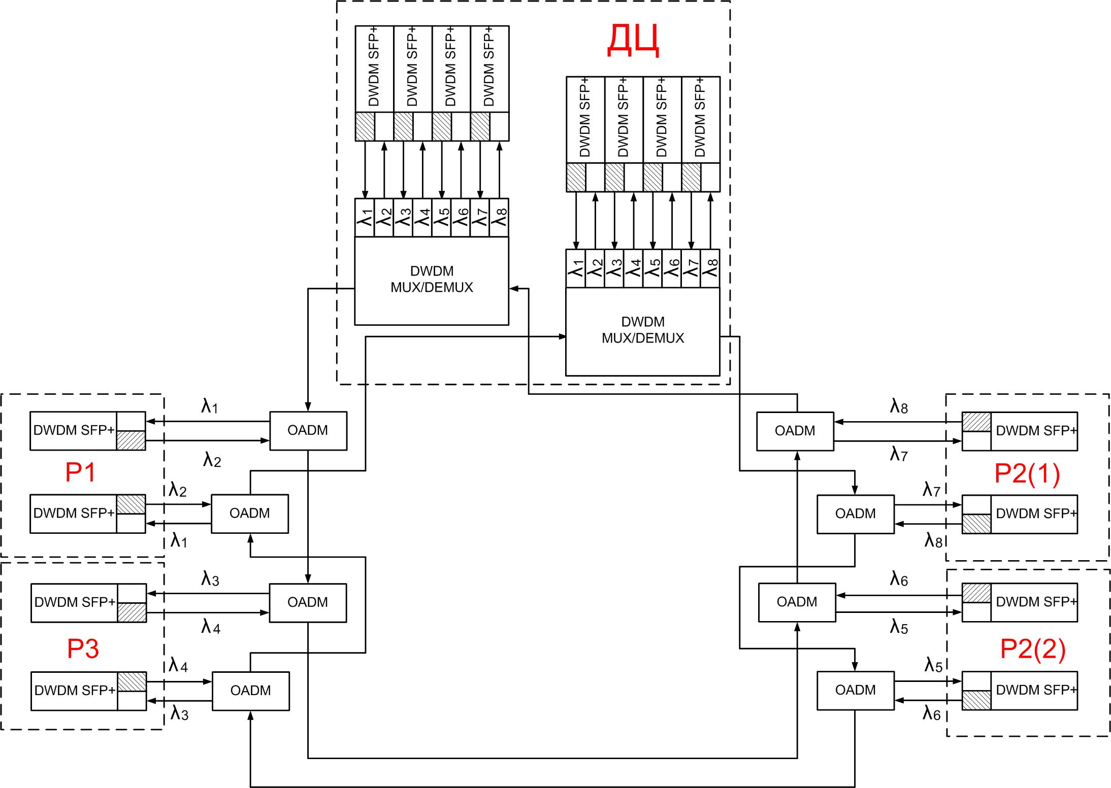
Доброго времени суток. Возник такой вопрос. От центрального узла распространяется несколько лямбд в одном волокне (DWDM), которые в последствии вводятся-выводятся модулями OADM. И не понятен именно один момент: затухание у всех лямбд будет разное в процессе ввода/вывода или же нет? Рисунок прилагаю

P.S. вопрос связан именно с OADM модулями ибо там есть затухание для проходящих длин волн, затухание при вводе дилны волны и выводе

post-102893-068672800 1338679214_thumb.jpg

Posted

такая реализация то же имеет право на жизнь..... просто в ней можно заменить OADM на 2-х канальные и использовать одно волокно в линии вместо 2-х

Posted

но в постановке задачи дано: построение кольца на одном волокне....

 

П.С. И с английским у товарища так себе: "вопрос" пишется "question"

Posted

1) С английским всё в норме. Просто спешил, когда ник создавал.

2) Вы не знаете задачу) Задача - организовать связь на определенных районах, а как я это буду делать - уже на моё усмотрение:) Я сделал 2 кольца по 2-м волокнам

P.S. Спасибо за одобрение проекта:) И может вопросы и глупые - просто хочу убедиться, что мыслю в верном направлении. Вы единственные кто может помочь:)

 

[Не подскажите где можно цены на кабели узнать?] Интересует ОКП фирмы ТРАнсвок. (1 - на 4 модуля, 32 волокна G.652) и (2 - 1 модуль, 4 волокна G.655)

Join the conversation

You can post now and register later. If you have an account, sign in now to post with your account.

Guest
Reply to this topic...

×   Pasted as rich text.   Paste as plain text instead

  Only 75 emoji are allowed.

×   Your link has been automatically embedded.   Display as a link instead

×   Your previous content has been restored.   Clear editor

×   You cannot paste images directly. Upload or insert images from URL.

×
×
  • Create New...
На сайте используются файлы cookie и сервисы аналитики для корректной работы форума и улучшения качества обслуживания. Продолжая использовать сайт, вы соглашаетесь с использованием файлов cookie и с Политикой конфиденциальности.