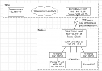
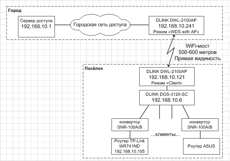
Andrei Posted September 26, 2013 Posted September 26, 2013 Примерно год работала схема с WiFi-мостом до поселка (клиентов не более десятка) - см. схему. Клиенты по pptp авторизовались на сервере доступа и все было замечательно. С сервера имелся доступ на обе WiFi-точки и коммутатор в поселке (telnet или web). Сетка "плоская", без вланов. На днях вдруг клиенты начали жаловаться на нестабильность - pptp-сессии с клиентских роутеров начали частенько падать. А сейчас и совсем не устанавливаются. При этом с сервера доступ на обе точки есть (т.е. wifi до поселка работает), а вот коммутатор в поселке с сервера даже не пингуется. Приехал к коммутатору, подключился к нему буком в один из клиентских портов, коммутатор живой, с локальных портов доступ в его управление есть, клиенты с бука пингуются (убрал traffic_segmentation ради эксперимента), но до сервера связи нет (даже пинги не бегают). И точка доступа, которая стоит в поселке, с подключенного к коммутатору бука тоже не пингуется, хотя статусы портов - ОК. Патчи менял, порты проверял - все живое. Интересная особенность - на точке доступа, установленной в городе, в списке клиентов видно один из клиентских роутеров (192.168.10.105, хозяин не хакер, практически "ноль" в сетях) - по маку опознал. Как она там оказалась - не понятно, т.к. на точке в городе установлено шифрование с паролями и привязкой по макам. В чем грабли - не понятно. Есть мысли что еще проверить? Вставить ник Quote
Saab95 Posted September 26, 2013 Posted September 26, 2013 Грабли наверно в радиоточках D-Link, глючных клиентских роутерах или глючных медиаконвертерах (они иногда начинают флудить маками, т.к. схемотехника дешевая). Нужно убрать точки D-Link, переделать авторизацию на PPPoE, на коммутаторах заблокировать все, кроме PPPoE - тогда и проблем не будет. Вставить ник Quote
Andrei Posted September 26, 2013 Author Posted September 26, 2013 Нужно убрать точки D-Link, переделать авторизацию на PPPoE, на коммутаторах заблокировать все, кроме PPPoE - тогда и проблем не будет. Убрать точки D-Link пока невозможно. Если только в течение осени удастся кинуть туда оптику. Переход с pptp на PPPoE не рассматривается. Глючные клиентские роутеры и конверторы? Роутеры не менялись с момента подключения поселка в августе прошлого года. И ведь все ж работало! :( Вставить ник Quote
Saab95 Posted September 26, 2013 Posted September 26, 2013 Можно длинки заменить на микротик, у него нормальный режим WDS. Обычно начинают с роутеров, у них бывает сносит настройки так, что получается кольцо в сети, но такое, что сам роутер работает, а вот на сервер, где авторизуются клиенты, летит всякий мусор, который и мешает нормальной работе. Нужно отключать порты и смотреть, при этом необходимо перезагружать или чистить ARP на сервере авторизации. Вставить ник Quote
tofu Posted September 26, 2013 Posted September 26, 2013 почему точка в поселке в режиме клиент? она же в этом случае все маки под свой перекрашивает и больше вроде как одного мака через себя не пропускает? Попробуйте на ней поставить также WDS AP или просто WDS Встаньте напрямую ноутом на 2100 в поселке и попробуйте pptp завязать. потом потушите на коммутаторе все порты кроме двух, в один встаньте ноутом, во втором пусть будет ваш ноутбук, опять завяжите pptp, если все ок, попросите кого-нибудь с сервера доступа поковыряться на коммутаторе, в это время попробуйте опять установить сессию, если сессия есть идите дальше, если нет, вот вам режим клиента. Вставить ник Quote
Andrei Posted September 26, 2013 Author Posted September 26, 2013 Можно длинки заменить на микротик, у него нормальный режим WDS. Да уж думаю повесить 32-волоконник (с запасом на строяшиеся коттеджи) и забыть про WiFi. Если что - какие модели микротиков порекомендуете под эту задачу? Трафика в этом линке будет не более 50 Мбит. Обычно начинают с роутеров, у них бывает сносит настройки так, что получается кольцо в сети, но такое, что сам роутер работает, а вот на сервер, где авторизуются клиенты, летит всякий мусор, который и мешает нормальной работе. Нужно отключать порты и смотреть, при этом необходимо перезагружать или чистить ARP на сервере авторизации. Порты клиентов на DGS-3120 отключал поочередно - ни к каким положительным результатам это не привело. Вставить ник Quote
Andrei Posted September 26, 2013 Author Posted September 26, 2013 почему точка в поселке в режиме клиент? она же в этом случае все маки под свой перекрашивает и больше вроде как одного мака через себя не пропускает? Да всё она пропускает. Я ж говорю - эта схема работала более года. Попробуйте на ней поставить также WDS AP или просто WDS Удаленно из города смогу поменять? Не потеряю управление над точкой в поселке? Встаньте напрямую ноутом на 2100 в поселке и попробуйте pptp завязать. потом потушите на коммутаторе все порты кроме двух, в один встаньте ноутом, во втором пусть будет ваш ноутбук, опять завяжите pptp, если все ок, попросите кого-нибудь с сервера доступа поковыряться на коммутаторе, в это время попробуйте опять установить сессию, если сессия есть идите дальше, если нет, вот вам режим клиента. Все так и пробовал. И порты отключал и ноутом прямо в точку включался - не видно сервера через WiFi мост. Пока вопрос решился заменой точки в поселке на точно такую же с такими же настройками. "Старую" точку забрал в офис, как говорится "привезли его домой - оказался он живой". Последняя версия произошедшего - в городской сети доступа перед "городской" WiFi-точкой стоит DES-3026. Не словил ли я известную проблему хэшей? Хотя клиентов в том сегменте городской сети в пределах 50. Как определить - не в хэшах ли проблема? Вставить ник Quote
tofu Posted September 26, 2013 Posted September 26, 2013 почему точка в поселке в режиме клиент? она же в этом случае все маки под свой перекрашивает и больше вроде как одного мака через себя не пропускает? Да всё она пропускает. Я ж говорю - эта схема работала более года. Попробуйте на ней поставить также WDS AP или просто WDS Удаленно из города смогу поменять? Не потеряю управление над точкой в поселке? Встаньте напрямую ноутом на 2100 в поселке и попробуйте pptp завязать. потом потушите на коммутаторе все порты кроме двух, в один встаньте ноутом, во втором пусть будет ваш ноутбук, опять завяжите pptp, если все ок, попросите кого-нибудь с сервера доступа поковыряться на коммутаторе, в это время попробуйте опять установить сессию, если сессия есть идите дальше, если нет, вот вам режим клиента. Все так и пробовал. И порты отключал и ноутом прямо в точку включался - не видно сервера через WiFi мост. Пока вопрос решился заменой точки в поселке на точно такую же с такими же настройками. "Старую" точку забрал в офис, как говорится "привезли его домой - оказался он живой". Последняя версия - в городской сети доступа перед "городской" WiFi-точкой стоит DES-3026. Не словил ли я известную проблему хэшей? Хотя клиентов в том сегменте городской сети в пределах 50. Как определить - не проблема ли в хэшах? у нас 3028 в кольцах стоят из 30 узлов... работают так то. тьфу тьфу. если переведете, управление не потеряете Вставить ник Quote
Andrei Posted September 26, 2013 Author Posted September 26, 2013 А 3028 и 3026 по-моему различаются с т.з. проблемы хэшей. Возможно я не прав. Вставить ник Quote
Saab95 Posted September 26, 2013 Posted September 26, 2013 Если что - какие модели микротиков порекомендуете под эту задачу? Трафика в этом линке будет не более 50 Мбит. Если расстояния до 2-3км то Mikrotik SXT Lite 2 или 5, если больше то городить джириусы или грувы с параболическими решетками. Вставить ник Quote
tofu Posted September 27, 2013 Posted September 27, 2013 Если что - какие модели микротиков порекомендуете под эту задачу? Трафика в этом линке будет не более 50 Мбит. ubnt nanobridge m2 2шт. Просто тупой мост по сути. Я таким мостом 20FD прокачиваю в полосе 10Mhz на дистанции 700 метров. В ус не дую, без не знаю. Вставить ник Quote
Andrei Posted September 27, 2013 Author Posted September 27, 2013 Последняя версия произошедшего - в городской сети доступа перед "городской" WiFi-точкой стоит DES-3026. Не словил ли я известную проблему хэшей? Хотя клиентов в том сегменте городской сети в пределах 50. Как определить - не в хэшах ли проблема? Эта версия имеет право на жизнь? Как продиагностировать - не она ли? проблемы есть у всех коммутаторов всех пооизводителей на определённых наборах марвелловских и броадкомовских микросхем. У кого-то потери после 8 тыс. MAC-ов начинаются, у кого-то после 2-4 тыс.. Наличие мультикаста сильно отягощает. MAC-ов на том коммутаторе всего-то 54. Эта проблема с хэшами влияет на всех абонентов в сегменте, даже если они не включены в DES-3026? У меня в том районе на агрегации стоит DGS-3100-24TG, к нему подключены свичи доступа в домах DES-3026 или Planet WGSD-1020 (к одному из таких DES-3026 и подключен WiFi из схемы в начале топика). Так проблемы с нестабильным подключением по pptp есть даже у тех абонентов, у которых нет "по пути" DES-3026, например по схеме: абонент -> Planet WGSD-1020 -> конвертор -> DGS-3100-24TG -> линух сервер. Сервер от клиента даже не пингуется, хотя с сервера до свича доступа проблем нет никаких. Снифером видно вот что: 21.348747 192.168.11.96 -> Broadcast ARP Who has 192.168.10.1? Tell 192.168.11.96 21.348765 192.168.10.1 -> 192.168.11.96 ARP 192.168.10.1 is at 00:0d:61:90:1b:d1 21.348849 192.168.11.96 -> Broadcast ARP Who has 192.168.10.1? Tell 192.168.11.96 21.348854 192.168.10.1 -> 192.168.11.96 ARP 192.168.10.1 is at 00:0d:61:90:1b:d1 21.436780 192.168.11.96 -> 192.168.11.255 NBNS Name query NB VPN.prov.RU<00> 21.436903 192.168.11.96 -> 192.168.11.255 NBNS Name query NB VPN.prov.RU<00> 21.437472 192.168.11.96 -> 192.168.11.255 NBNS Name query NB VPN.prov.RU<00> 21.998565 192.168.11.96 -> Broadcast ARP Who has 192.168.10.1? Tell 192.168.11.96 21.998579 192.168.10.1 -> 192.168.11.96 ARP 192.168.10.1 is at 00:0d:61:90:1b:d1 22.084943 192.168.11.96 -> 239.255.255.250 SSDP NOTIFY * HTTP/1.1 22.096755 192.168.11.96 -> 192.168.11.255 NBNS Name query NB WPAD<00> 22.096848 192.168.11.96 -> 192.168.11.255 NBNS Name query NB WPAD<00> 22.097460 192.168.11.96 -> 192.168.11.255 NBNS Name query NB WPAD<00> Здесь 192.168.11.96 - клиент, у него маска 255.255.254.0, шлюз и ДНС - 192.168.10.1 192.168.10.1 - сервер VPN.prov.RU - NAS Cisco, адрес которой для клиента должен отресолвить сервер, но DNS-запросов с клиента не видно вообще, а 21.436780 192.168.11.96 -> 192.168.11.255 NBNS Name query NB VPN.prov.RU<00> это, как я понимаю, клиент для сетей Microsoft флудит. Вставить ник Quote
Recommended Posts
Join the conversation
You can post now and register later. If you have an account, sign in now to post with your account.