pred1981 Posted March 18, 2013 Posted March 18, 2013 (edited) Всем привет! Стоит микротик ccr1036-12g-4s в качестве BGP маршрутизатора, поднято 4 сессии на магистральных операторов. К 2 операторам подключены напрямую, а к 3 и 4 через несколько маршрутизаторов по eBGP MultiHop. Проблема заключается в том что, входящий траф бегает только через операторов подключенных напрямую, если выключить первые 2 сессии, то траф начинает бегать по двум оставшимся операторам. Кто сталкивался с аналогичной задачей прошу помочь в настройке совместной работы нескольких операторов, подключенных разными способами. Изменение prepend не помогают, с cost еще не пробовал. Edited March 19, 2013 by pred1981 Вставить ник Quote
Sonne Posted March 18, 2013 Posted March 18, 2013 1. Какое отношение вопрос имеет к беспроводным сетям? 2. По количеству информации в вопросе можно дать только один ответ - полное непонимание. Для начала изучите азы BGP, подключение к чужому оператору невозможно по iBGP. Про автономную систему слышали? Вставить ник Quote
pred1981 Posted March 19, 2013 Author Posted March 19, 2013 1. Какое отношение вопрос имеет к беспроводным сетям? 2. По количеству информации в вопросе можно дать только один ответ - полное непонимание. Для начала изучите азы BGP, подключение к чужому оператору невозможно по iBGP. Про автономную систему слышали? 1. Мы предоставляем беспроводной доступ в сеть интернет, кабельными сетями не занимаемся. Поэтому вопрос задан в данной ветке. 2. Азы BGP изучаю, насчет iBGP согласен ошибся. Ниже выкладываю конфиги. [admin@Mikrotik] /routing bgp peer> print Flags: X - disabled, E - established # INSTANCE REMOTE-ADDRESS REMOTE-AS 0 E RTcomm a.a.a.a 4xxxx 1 E Rostel b.b.b.b 4xxxx 2 E Beeline c.c.c.c 4xxxx 3 E Megafon d.d.d.d 3xxxx /routing bgp instance> print Flags: * - default, X - disabled 0 *X name="default" as=56zzz router-id=z.z.z.z redistribute-connected=yes redistribute-static=yes redistribute-rip=no redistribute-ospf=no redistribute-other-bgp=no out-filter="" client-to-client-reflection=no ignore-as-path-len=no routing-table="" 1 name="RTcomm" as=ZZZZZ router-id=a.a.a.a redistribute-connected=yes redistribute-static=yes redistribute-rip=no redistribute-ospf=no redistribute-other-bgp=no out-filter=RTcomm client-to-client-reflection=no ignore-as-path-len=no routing-table="" 2 name="Rostel" as=ZZZZZ router-id=b.b.b.b redistribute-connected=yes redistribute-static=no redistribute-rip=no redistribute-ospf=no redistribute-other-bgp=no out-filter=Rostel client-to-client-reflection=no ignore-as-path-len=no routing-table="" 3 name="Beeline" as=ZZZZZ router-id=c.c.c.c redistribute-connected=yes redistribute-static=yes redistribute-rip=no redistribute-ospf=no redistribute-other-bgp=no out-filter=Beeline client-to-client-reflection=no ignore-as-path-len=no routing-table="" 4 name="Megafon" as=ZZZZZ router-id=d.d.d.d redistribute-connected=yes redistribute-static=no redistribute-rip=no redistribute-ospf=no redistribute-other-bgp=no out-filter=Megafon client-to-client-reflection=no ignore-as-path-len=no routing-table="" Вставить ник Quote
Sonne Posted March 21, 2013 Posted March 21, 2013 В этом разделе все такие. Максимум могут сказать - используй Микротик это круто, но у вас уже самый крутой миротик, поэтому советы кончились. Если вы подняли BGP сессию, то по ней всегда должен бегать какой то трафик. Если трафика нет совсем, то это означает неправильну настройку. У Вас по мультихоп соеинению идет трафик или нет? Все маршруты которые принимает BGP с обоих сторон должны быть продублированны внутренними маршрутами - статикй или OSPF. В общем случае это достаточно сложная тема чтобы просто объяснить на пальцах особенно с 4 подлключениями. Вам нужно начать со схемы связи где кружочками должны быть нариосованы все маршрутизаторы со всми IP сетями и автономныи системами. Даже если вы привлечете специалиста, ему эта схема будет нужна. BGP предназначен для работы на границе автономных систем, замените мультихоп линки VLANами, представьте что нет такой опции и все. Вставить ник Quote
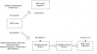
pred1981 Posted March 21, 2013 Author Posted March 21, 2013 В этом разделе все такие. Максимум могут сказать - используй Микротик это круто, но у вас уже самый крутой миротик, поэтому советы кончились. Если вы подняли BGP сессию, то по ней всегда должен бегать какой то трафик. Если трафика нет совсем, то это означает неправильну настройку. У Вас по мультихоп соеинению идет трафик или нет? Все маршруты которые принимает BGP с обоих сторон должны быть продублированны внутренними маршрутами - статикй или OSPF. В общем случае это достаточно сложная тема чтобы просто объяснить на пальцах особенно с 4 подлключениями. Вам нужно начать со схемы связи где кружочками должны быть нариосованы все маршрутизаторы со всми IP сетями и автономныи системами. Даже если вы привлечете специалиста, ему эта схема будет нужна. BGP предназначен для работы на границе автономных систем, замените мультихоп линки VLANами, представьте что нет такой опции и все. Дело в том что нет возможности прокинуть VLAN, поэтому используем MULTIHOP. А по поводу неправильной настройки BGP, я с Вами не согласен. Если выключить остальные сессии и оставить только одну с MULTIHOP, то все прекрасно работает, если бы было неправильно настроено, то вообще бы не работало. Проблема том чтобы заставить бегать траф по обоим операторам одновременно с MULTIHOP и без него. Вставить ник Quote
Night_Snake Posted March 21, 2013 Posted March 21, 2013 pred1981 Нарисуйте уже картинку, хотя бы Вставить ник Quote
pred1981 Posted March 21, 2013 Author Posted March 21, 2013 pred1981 Нарисуйте уже картинку, хотя бы Вставить ник Quote
Sonne Posted March 21, 2013 Posted March 21, 2013 pred1981 У вас неправильные настройки. Удалите все инстансы кроме default, все пиры должны быть в дефолтном инстансе. Вставить ник Quote
pred1981 Posted March 22, 2013 Author Posted March 22, 2013 pred1981 У вас неправильные настройки. Удалите все инстансы кроме default, все пиры должны быть в дефолтном инстансе. Перенастроил по Вашему совету, изменений не произошло. Вставить ник Quote
dsk Posted March 22, 2013 Posted March 22, 2013 1. Попросите операторов, которые на мультихопе, чтобы они посмотрели на своих роутерах, видят ли они от вас анонсы и куда оно бегает. 2. Смотрите на публичных Looking Glass-ах как вы там видите свои сети и т.п. 3. Если у вас блок больше /24, попробуйте проанонсить мультихопникам специфики. Вставить ник Quote
Sonne Posted March 22, 2013 Posted March 22, 2013 Напишите вывод: /routing bgp peer /routing bgp network print IP адреса можете спрятать, но автономные системы знает весь интернет. И блок ваших адресов покажите если хотите чтобы интернет его видел. Вставить ник Quote
Recommended Posts
Join the conversation
You can post now and register later. If you have an account, sign in now to post with your account.