Jump to content

Recommended Posts

Posted

Приветствую всех!

На улице жара, мозги плавятся, голова отказывается работать... но все же необходимо! :-)

А теперь, после лирического отступления, нужен небольшой толчок. Вот схема небольшой сети: все оборудование HP, в ядре стоит 5406zl с модулем на 24-е оптических входа, рядышком по оптике находятся два 2626. В 5406zl созданы два VLAN-a для подключения 2626. В 5406 роутинг включен, ARP-cache и proxy ARP включены, ICMP все разрешено. 5406 видит оба 2626, однако из одного 2626 достучаться до другого 2626 не получается, ни пинги, ни трейсроуты не ходят. Где копнуть поглубже?

 

P.S. просьба не пинать ногами с возгласами чинай документацию! :-) 2000 страниц причитаны и проанализированы, но пока безрезультатно. Switch L3 уровня настраиваю впервые, раньше были программные роутеры.

 

Заранее спасибо за советы!!!

Posted
Приветствую всех!

На улице жара, мозги плавятся, голова отказывается работать... но все же необходимо! :-)

А теперь, после лирического отступления, нужен небольшой толчок. Вот схема небольшой сети: все оборудование HP, в ядре стоит 5406zl с модулем на 24-е оптических входа, рядышком по оптике находятся два 2626. В 5406zl созданы два VLAN-a для подключения 2626. В 5406 роутинг включен, ARP-cache и proxy ARP включены, ICMP все разрешено. 5406 видит оба 2626, однако из одного 2626 достучаться до другого 2626 не получается, ни пинги, ни трейсроуты не ходят. Где копнуть поглубже?

ip route 0.0.0.0 на 2626 куда показывает? На 5400?

Posted

Правильно заданный вопрос - половина ответа.

Нарисуйте схему, вланы, адреса - если сами не поймете - где беда, то хоть подсказать что-то можно.

Но vIv правильно предполагает - шлюз по умолчанию должен быть на 2626, наверно нет его.

 

C 2626 5400 видна?

Posted

Сейчас нахожусь не на работе, поэтому схему и подробное описание укажу позже. Еще раз благодарю откликнувшихся.

Posted

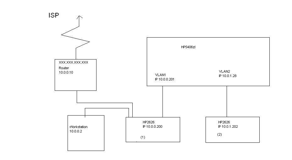
А вот и обещанная схема с пояснениями (см. рисунок).

Что касается Роутера, рабочей станции, 2626 (1), 5406 все работает,

а вот второй 2626 ни с кем ни пингуется.

*******************************************************************

Это из 5406zl:

*******************************************************************

ProCurve Switch 5406zl# show running-config

Running configuration:

; J8697A Configuration Editor; Created on release #K.12.05

hostname "ProCurve Switch 5406zl"

max-vlans 24

module 1 type J8706A

ip default-gateway 10.0.0.10

ip directed-broadcast

snmp-server community "public" Unrestricted

snmp-server host 10.0.0.2 "public"

vlan 1

name "DEFAULT_VLAN"

untagged A1,A3-A24

ip address 10.0.0.201 255.255.255.0

tagged A2

exit

vlan 2

name "5406_A2"

ip address 10.0.1.28 255.255.255.0

tagged A1-A2

exit

***************************************************************************

ProCurve Switch 5406zl# show ip route

IP Route Entries

Destination Gateway VLAN Type Sub-Type Metric Dist.

------------------ --------------- ---- --------- ---------- ---------- -----

0.0.0.0/0 10.0.0.10 1 static 250 1

10.0.0.0/24 DEFAULT_VLAN 1 connected 1 0

10.0.1.0/24 5406_A2 2 connected 1 0

127.0.0.0/8 reject static 0 0

127.0.0.1/32 lo0 connected 1 0

*******************************************************************

ProCurve Switch 5406zl# ping 10.0.0.200

10.0.0.200 is alive, time = 1 ms

ProCurve Switch 5406zl# ping 10.0.1.202

Request timed out.

*******************************************************************

ProCurve Switch 5406zl# show vlans

Status and Counters - VLAN Information

Maximum VLANs to support : 24

Primary VLAN : DEFAULT_VLAN

Management VLAN :

802.1Q VLAN ID Name | Status Voice Jumbo

-------------- -------------------- + ---------- ----- -----

1 DEFAULT_VLAN | Port-based No No

2 5406_A2 | Port-based No No

********************************************************************

ProCurve Switch 5406zl# show vlans 1

Status and Counters - VLAN Information - Ports - VLAN 1

802.1Q VLAN ID : 1

Name : DEFAULT_VLAN

Status : Port-based

Voice : No

Jumbo : No

Port Information Mode Unknown VLAN Status

---------------- -------- ------------ ----------

A1 Untagged Learn Up

A2 Tagged Learn Up

**********************************************************************

ProCurve Switch 5406zl# show vlans 2

Status and Counters - VLAN Information - Ports - VLAN 2

802.1Q VLAN ID : 2

Name : 5406_A2

Status : Port-based

Voice : No

Jumbo : No

Port Information Mode Unknown VLAN Status

---------------- -------- ------------ ----------

A1 Tagged Learn Up

A2 Tagged Learn Up

*************************************************************************

=========================================================

Это с HP2626

=========================================================

ProCurve Switch 2626# show running-config

Running configuration:

; J4900B Configuration Editor; Created on release #H.08.106

hostname "ProCurve Switch 2626"

ip default-gateway 10.0.0.201

snmp-server community "public" Unrestricted

snmp-server host 10.0.0.2 "public"

vlan 1

name "DEFAULT_VLAN"

untagged 1-26

ip address 10.0.0.200 255.255.255.0

exit

=========================================================

ProCurve Switch 2626# show ip route

IP Route Entries

Destination Gateway VLAN Type Sub-Type Metric Dist.

------------------ --------------- ---- --------- ---------- ---------- -----

0.0.0.0/0 10.0.0.201 1 static 0 250

10.0.0.0/24 DEFAULT_VLAN 1 connected 0 0

127.0.0.0/8 reject static 0 250

127.0.0.1/32 lo0 connected 0 0

==========================================================

ProCurve Switch 2626# ping 10.0.0.201

10.0.0.201 is alive, time = 1 ms

ProCurve Switch 2626# ping 10.0.1.28

10.0.1.28 is alive, time = 1 ms

ProCurve Switch 2626# ping 10.0.1.202

Target did not respond.

==========================================================

###########################################################

Это со второго HP2626

###########################################################

ProCurve Switch 2626# show running-config

Running configuration:

; J4900B Configuration Editor; Created on release #H.08.83

hostname "ProCurve Switch 2626"

ip default-gateway 10.0.1.28

snmp-server community "public" Unrestricted

vlan 1

name "DEFAULT_VLAN"

untagged 1-26

ip address 10.0.1.202 255.255.255.0

exit

###########################################################

ProCurve Switch 2626# show ip route

IP Route Entries

Destination Gateway VLAN Type Sub-Type Metric Dist.

------------------ --------------- ---- --------- ---------- ---------- -----

0.0.0.0/0 10.0.1.28 1 static 0 250

10.0.1.0/24 DEFAULT_VLAN 1 connected 0 0

127.0.0.0/8 reject static 0 250

127.0.0.1/32 lo0 connected 0 0

###########################################################

ProCurve Switch 2626# ping 10.0.1.28

Target did not respond.

ProCurve Switch 2626# ping 10.0.0.201

Target did not respond.

###########################################################

post-31396-1180462044_thumb.jpg

Posted (edited)

Порт второго 2626, который смотрит на 5406, должен входить во второй вилан, иначе 5406 будет резать пакеты на входе.

 

Не уверен насчет необходимости тегирования 2го вилана на первом порту и, соответственно, 1го на втором. Просто не в курсе как работает маршрутизация виланов на Л3-свитчах.

Edited by FriedricH
Posted

А-а, ну это беда на этапе вланов, а L3. Я так понимаю, 2626-2 свич включен в порт A2.

 

Минимальное - на 5400 надо:

vlan 1

no tagged A2

exit

vlan 2

untagged A2

 

Тогда они будут общать на нетегированных портах и все хорошо.

 

Если нужна более сложная схема - надо аккуратно планировать вланы с пониманием, как это работает.

А L3 - это просто :).

 

Добавлю еще, что, чтоб все видели сеть второго 2626 надо или поднимать динамику на роутре и 5400 или на роутере писать статик маршрут 10.0.1.28/24 на 5400.

Join the conversation

You can post now and register later. If you have an account, sign in now to post with your account.

Guest
Reply to this topic...

×   Pasted as rich text.   Paste as plain text instead

  Only 75 emoji are allowed.

×   Your link has been automatically embedded.   Display as a link instead

×   Your previous content has been restored.   Clear editor

×   You cannot paste images directly. Upload or insert images from URL.

×
×
  • Create New...
На сайте используются файлы cookie и сервисы аналитики для корректной работы форума и улучшения качества обслуживания. Продолжая использовать сайт, вы соглашаетесь с использованием файлов cookie и с Политикой конфиденциальности.